15116992657  

LT61 高性能频稳测试仪LT61高性能频稳测试仪

产品简介

LT61 是专门针对高性能原子钟测试设计的高性能频率比对器,可实现 1-30MHz 任意频点测量,在 10MHz 时实测附加稳定度可达1.2×10-13,且此模块内部集成了高性能特种时钟,在被测和标准信号存在任何频差的情况下均不影响实测性能。

产品特点

  • 本底低至 1.2×10-13/1S,2×10-15/1000S
  • 被测输入频率 1-30MHz,标准输入频率 10MHz
  • 快速测定被测频率,自动启动测量
  • 可配合特定软硬件组成批量测试系统

典型曲线

频率稳定度典型值          
  • 1s:     1.2×10-13                                   
  • 10s:    2.0×10-14                                       
  • 100s:    5.6×10-15
  • 1000s:   1.7×10-15

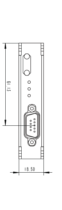
外形尺寸二

应用领域

技术参数

   测试项目 技术指标
标准输入频率   1 路 10MHz
标准输入功率范围   5dBm~15dBm
标准输入准确度   ±5×10-7
被测输入频率   1 路 1MHz~30MHz
被测输入功率范围   5dBm~7dBm
自动锁定时间   < 5s
存储温度电源 1s ≤ 2×10-13
1000s ≤ 3×10-15
工作温度   -20℃ ~+70℃
电源   +12V~+15V
电流   ≤ 0.5A
本体尺寸   126mm×86mm×18.5mm

外形尺寸一


DSUB9 管脚定义:

  1. N/C
  2. RS232-TX
  3. RS232-RX
  4. 锁定指示
  5. 电源 +12~+15V
  6. N/C
  7. N/C
 

了解更多>>

产品推荐
相关文章

山河电子因为专业所以无惧任何挑战

北京山河锦绣科技开发中心,简称:山河电子经验专注于PNT行业领域技术,专业从事授时web管理开发、信创麒麟系统应用、北斗时间频率系统、金融PTP通用解决方案以及特需解决方案的指定,在授时领域起到领导者地位,在NTP/ptp方案集成和市场服务工作中面对多样化和专业化的市场需求,山河电子致力于设计和开发满足不同用户真实需求的产品和解决方案,技术业务涉航空航天、卫星导航、军民通信及国防装备等领域,为我国深空探测、反隐身雷达、授时中心铯钟项目等国家重大工程建设提供了微波、时间频率基准及传递设备。

点击查看