1000C超高性能晶体振荡器晶体振荡器,超稳恒温晶振

产品描述
- Microsemi公司的1000C通过先进的SC和BVA晶体加工技术,实现了超低的相位噪声、优异的短期稳定性,和低老化率的特性。连续工作30天内即可达到标称的老化率指标,运行时间更长可以获得更加优异的表现,在连续加电运行数年之后,日老化率指标甚至低至1E-12。
- 1000C采用杜瓦隔热技术的恒温槽设计,在整个工作温度范围内均具有优异的温度特性,其受到温度变化影响所产生的频率改变<5.0E-9。此外,1000C还具有一个监测恒温槽温度变化的传感器(监测灵敏度:10mV/℃)。
- 1000C提供高性能和超高性能两个版本。超高性能版本,SSB相位噪声可达:-130dBc@1Hz、-160dBc@100KHz,稳定后,短期稳定度可以达到:2E-13(0.1s ~ 100s)。高性能版本SSB相位噪声也可达到:-120 dBc@1Hz、-160dBc@100KHz,稳定后,短期稳定也可以达到3E-13(0.1s ~ 100S)。
- 1000C采用低噪声、高隔离度的缓冲放大器提供4路独立的5MHz输出。缓冲放大器隔离信号输出尽可能不受负载变化的影响。而内部的电压调节器则使得电源纹波所引起的影响有效降低。伺服循环系统采用线性的电子频控技术来进行良好的频率调整,在压控调整的范围内,其调整线性优于5%。
- 1000C能够满足广泛的军事和工业环境的应用需求。其可以被应用在高精度的频率计数器和综合器、GPS接收机、微波倍频器、相位噪声校准测试设备、2级通信应用、雷达和战术通信系统、安全通信系统、卫星地面终端以及航天飞行系统等。
技术指标
频率输出:
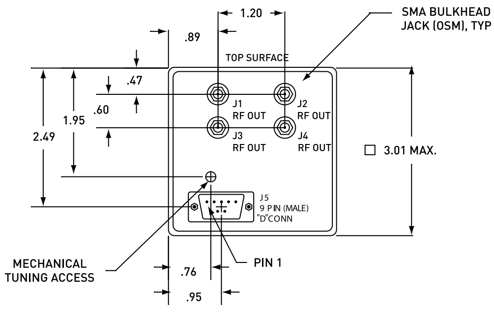
- 频率:4路5kHz
- 幅度:1Vrms(2路),0.5Vrms(2路)
- 谐波:<-40dBc
- 杂散:<-80dBc
- 连接器:SMA
短期稳定性:0.1-100s)艾伦方差:<3.0E-13 高性能,<2.0E-13超高性
日老化率:(工作30天后)
<5.0E-9(在整个工作温度范围)
SSB相位噪声: 高性能 超高性能
1Hz -120dBc -130dBc
10Hz -145dBc -150dBc
100Hz -156dBc -157dBc
1,000Hz -160dBc -160dBc
10,000Hz -160dBc -160dBc
100,000Hz -160dBc -160dBc
温度特性:<5.0E-9(在整个工作温度范围)
font view

主要特点
- 低老化率:5.0E-11/天
- 低相位噪声:-130dBc@1Hz,-160dBc@100kHz(超高性能)
- 4路独立缓冲和电压隔离的5MHz输出
- 短期稳定度:0.1s至100s优于2.0E-13(超高性能)
- 快速启动:15分钟达到2.0E-8
- 可在0℃至55℃的宽温环境下运行
- 电压调节0V至10V
- 调节范围6.0E-7
频率调整
- 压控极性:正向
- 压控范围:0V-10V
- 负载特性: <5.0E-11,50Ω
供电电压:
8-30VDC
功耗:启动13W,运行3.5W
连接器:DB9
环境指标:
- 电压特性:电压改变+-1%,<1.0E-11
- EMI敏感性(边频带):<-100dBc,0.1Vrms,10Hz-104Hz
- 操作温度:0℃至55℃
- 存储温度:-40℃至85℃
- 开机特性:15分钟,至2.0E-8
- 恒温槽温度监控: 10mV/℃
- 规格尺寸:规格尺寸尺寸:7.6cm*16.5cm*7.6cm(宽*深*高)
- 重量:<0.67Kg
- MTBF:>130,000小时
- Bottom View

产品推荐
相关文章
山河电子因为专业所以无惧任何挑战
北京山河锦绣科技开发中心,简称:山河电子经验专注于PNT行业领域技术,专业从事授时web管理开发、信创麒麟系统应用、北斗时间频率系统、金融PTP通用解决方案以及特需解决方案的指定,在授时领域起到领导者地位,在NTP/ptp方案集成和市场服务工作中面对多样化和专业化的市场需求,山河电子致力于设计和开发满足不同用户真实需求的产品和解决方案,技术业务涉航空航天、卫星导航、军民通信及国防装备等领域,为我国深空探测、反隐身雷达、授时中心铯钟项目等国家重大工程建设提供了微波、时间频率基准及传递设备。







